详情
AcFun去广告精简版是一款备受欢迎的二次元弹幕视频平台,不仅提供大量正版美漫、日漫和国漫资源,还汇聚了众多热爱二次元文化的用户。在这里,你可以欣赏到丰富多彩的原创内容,感受创作者们的奇思妙想,同时还能与动漫达人实时互动,畅聊经典动漫片段与天马行空的创意观点。
AcFun去广告精简版特色
【硬核体育精彩赛事】
聚焦全球热门体育赛事,第一时间呈现球员高光时刻,让你不错过每一场热血对决。
【热门番剧应有尽有】
从《瑞克和莫蒂》到《大贵族》,再到经典之作《冰上的尤里》,国内外人气番剧一网打尽,满足不同口味的动漫迷。
【随时随地直播互动】
活跃的UP主群体与科技感十足的虚拟主播轮番登场,带来持续不断的直播惊喜,互动玩法多样,观看不再单调。
【友好的弹幕氛围】
作为弹幕文化的活跃阵地,这里的评论区充满幽默与创意,观众边看边玩梗,弹幕本身就是一道风景线。
【海量资源随心看】
所有视频内容均无广告插入,告别跳过等待,真正实现畅快追番。纯净体验,让每一次打开都成为享受。
自2007年诞生以来,平台始终依靠用户的支持不断进化。2024年,我们将继续深耕内容生态,为每一位ACer提供更好的服务。
AcFun去广告精简版亮点
【弹幕文化发源地】
作为国内最早引入并推广弹幕功能的视频平台之一,AcFun见证了弹幕文化的兴起与发展。如今已成长为集视频、直播、社区于一体的综合性内容平台,在二次元领域具有深远影响力。
【宅文化聚集地】
秉承“天下漫友是一家”的初心,倡导“认真你就输了”的轻松态度,这里成为无数宅圈用户的灵魂栖息地。多年来孵化出大量网络热梗与爆款原创作品,持续输出亚文化影响力。
【创作者家园】
为内容创作者提供完善的发布机制与成长通道,轻松注册成为UP主,通过投稿和直播积累人气,实现创作价值与收益双丰收。
AcFun去广告精简版使用教程
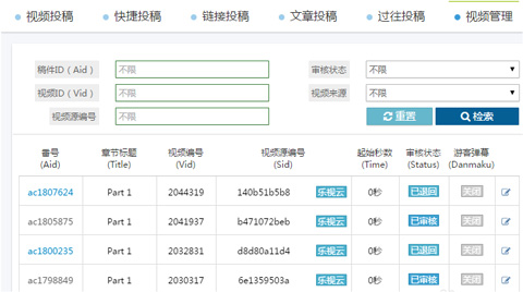
AcFun手机版怎么分p投稿?
可以在手机上下载乐视云app,然后把你要传的视频,传到乐视云

传完以后,可以打开视频管理。可以看到自己的上传的视频,一般要经过视频格式的转换,才会有一个AID也就是AC号

等转换完以后,可以看到那个视频源编号SID,然后就可以去连接投稿里面去投稿了,这一步大家都熟悉了,把视频地址里面填写上SID,视频源填写乐视源就可以了。想要多少P就多少P

AcFun怎么离线缓存视频?
1、首先选择要缓存的视频,点击播放视频;

2、在视频播放界面,不是全屏播放的,点击一下视频播放界面;

3、点击后,能看到顶部右边有三个小点图标,点击打开可以看到缓存选项,点击缓存。

4、然后可以设置离线缓存的清晰度,点击窗口左上角的清晰度。

5、选择好清晰度后,点击底部右下角的离线,就可以缓存视频了。

AcFun去广告精简版常见问题
01、 怎么注册A站账号啊?
您有两种方式打入A站成为众多acer的好基友:
1、未登录状态下,在AcFun首页顶部导航栏右侧可见“登录/注册”按钮,点击它并填写相关信息就能完成注册
2、进入注册页面:http://www.acfun.tv/reg/,输入信息,完成注册
02、 我忘记我的注册帐号了怎么办呀?我输入昵称登录无效了。
您好,一般来说登录帐号是使用手机号码。对于2015年6月5日之前注册的用户,依然可以使用原有的登录方式:手机、邮箱、用户名。
03、 忘记密码了,我想找回密码,怎么办?
您有以下几种方式可以找回密码:
1、点击登录页面的”忘记密码”链接,通过昵称,进行手机找回密码或邮箱重置密码。
2、或者如果您能证明是该帐号持有人,你可以把相关信息:包括注册时间、注册手机号[2015年6月3日之前注册的老用户为邮箱]、昵称、最后一次登录IP或注册IP,发邮件至mi miko@acfun、tv,我们来帮您解决
04、 救命呀!为什么我不能正常观看视频啊???加载视频异常啊!!!视频无法播放
看不了视频不要急,先做好以下几步就能顺利上车了:
Step 1 先查看一下,文章区的文章打开正常吗?如果能打开,那么执行step2,否则执行step5
Step 2 多点几个视频看看,只是部分视频看不了还是都不能看呢?部分不能看,执行step5;全都不能看,执行step3;
Step 3 查看一下您的Flash插件(Adobe Flash Player)是不是对的:如果出现页面提示下载最新Flash插件,那么点击链接后进入下载页面,按照提示进行下载安装,确保所有的流程都顺利完成之后重启浏览器。
Step 4 打开视频,查看是否还存在播放不了的情况?如果有,麻烦更换其他浏览器打开试试看能否播放?如果切换浏览器打开,还是不能观看视频,那么执行异常上报流程。
Step 5 上报异常,需要把详细的情况和截图发邮件到report@acfun、tv,告知我们,我们来帮您解决。
备注:
部分来自土豆网视频无法正常观看。
部分海外IP无法观看来自优酷网视频。
部分用户所处地区(包括海外)网络受限,观看视频可能会出现障碍
05、 视频上传报错了!!!视频传不上去啊!视频上传报错api超时了!
您好,视频上传报错的原因很复杂,您可以先检查一下自己的视频文件是否正确,然后进行以下尝试,如果都不行,您可以把详细的情况和截图发邮件到mi miko@acfun、tv,告知我们,我们来帮您解决。
1、尝试清理一下缓存,然后刷新,重新登录后再次上传;
2、尝试换一个网络环境,刷新,重新上传;
3、尝试换一个浏览器,重新上传。
06、为什么我不能发高级弹幕啊?难道是会员等级受限制吗?不同的会员等级对应什么权利啊?
您好,会员等级不同对应不一样的权利:
注册会员:仅支持观看功能
正式会员等级大于等于1时,用户可以发送普通弹幕和评论,并能够使用私信系统。
正式会员等级大于等于5时,用户可以为视频添加标签,并能够使用高级弹幕。
AcFun去广告精简版更新日志
亲爱的ACer:
全新AcFun情缘版正式上线!本次6.77.0版本在提升系统稳定性与安全性能的基础上,优化了表情选择界面,操作更便捷,交互更人性化。春节期间还将陆续推出多项新功能与活动内容,敬请期待。
若您喜欢本次更新,欢迎前往应用商店为我们点亮五星好评,您的支持是我们前进的最大动力!
使用中有任何建议或想法,也欢迎随时留言反馈,每一条意见我们都将认真阅读并积极回应。
应用信息
- 厂商:暂无
- 包名:tv.acfundanmaku.video
- 版本:6.77.0.1305
- MD5值:8a224cff78be9d2c869dc55d147154c8




